Bumper & Components - Rear for 2017 Audi S8
No.
Part # / Description / Price
Price
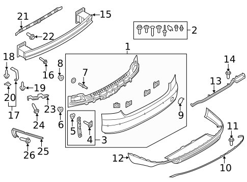
1
Bumper Cover
Audi
Audi Description: 2015-18, cover & components, with S8, S8 Plus.
MSRP $3,721.00 CAD
$2,976.80 CAD
MSRP $3,721.00 CAD
$2,976.80 CAD
3
Bumper Cover Retainer Strip
Audi
Audi Positions: Left
Notes: PARTS: Part included with bumper cover.
Description: 2015-18, cover & components, with S8, S8 Plus.
MSRP $30.91 CAD
$26.27 CAD
MSRP $30.91 CAD
$26.27 CAD
3
Bumper Cover Retainer Strip
Audi
Audi Positions: Right
Notes: PARTS: Part included with bumper cover.
Description: 2015-18, cover & components, with S8, S8 Plus.
4
Bumper Cover Bolt
Audi
Audi Positions: Right
Notes: PARTS: Part included with retainer strip.
Description: 2006-10. 2008-10. 2015-18, cover & trim, with S8, S8 Plus, with a8l sport. 2015-18, cover & components, with S8, S8 Plus. 2004-05 with 4.2L. With TT rs. 2011-14, with S8. 2019-2021, cover & components, with sport style bumper. 2005 with 6.0L.
MSRP $3.45 CAD
$2.93 CAD
MSRP $3.45 CAD
$2.93 CAD
5
Grommet
Audi
Audi Positions: Left
Notes: PARTS: Part included with retainer strip.
MSRP $3.39 CAD
$2.88 CAD
MSRP $3.39 CAD
$2.88 CAD
6
MSRP $4.80 CAD
$4.08 CAD
7
Stud
Audi
Audi Positions: Right
Notes: PARTS: Part included with bumper cover.
Description: 2019-2021, cover & components, with sport style bumper. 2015-18, cover & components, with S8, S8 Plus. 2022-25, cover & components, A8. 2022-25, cover & components, S8. 2011-14, with S8.
MSRP $18.00 CAD
$15.30 CAD
MSRP $18.00 CAD
$15.30 CAD
9
Tow Eye Cap
Audi
Audi Notes: PARTS: Part included with bumper cover.
Description: 2015-18, cover & components, with S8, S8 Plus.
11
Lower Grille Screw
Audi
Audi Description: With s-line pkg, 2015-16. 2015-18, cover & components, with S8, S8 Plus. With S3, 2015-16. TT rs, covers & trim, code: gp0.
MSRP $3.04 CAD
$2.58 CAD
MSRP $3.04 CAD
$2.58 CAD
14
MSRP $1.10 CAD
$0.94 CAD
16
17
Retaining Bracket
Audi
Audi Positions: Right
Description: 2015-18, cover & components, with S8, S8 Plus. 2011-14, with S8.
18
MSRP $3.05 CAD
$2.59 CAD
19
MSRP $4.05 CAD
$3.44 CAD
20
Ft Fender Liner U-Nut
Audi
Audi Positions: Left
Notes: PARTS: Part included with retaining bracket.
MSRP $3.35 CAD
$2.85 CAD
MSRP $3.35 CAD
$2.85 CAD
22
Center Support Bolt
Audi
Audi Description: Convertible,. 2015-18, cover & components, with S8, S8 Plus. 2011-14, with S8.
MSRP $0.53 CAD
$0.45 CAD
MSRP $0.53 CAD
$0.45 CAD
No.
Part # / Description / Price
Price

